歡迎來訪江蘇91视频导航管路係統股份有(yǒu)限公司 官(guān)方網站!

PRODUCT CENTER 產品中心

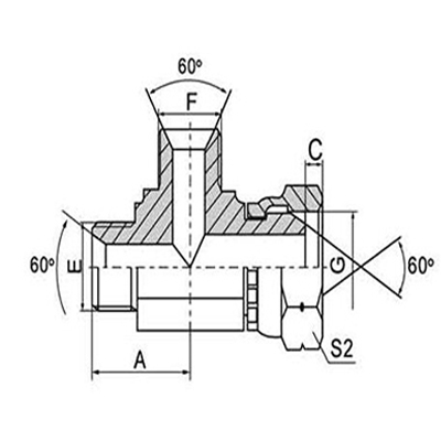
英製過渡接頭
CB

用途:汽車,工程(chéng)機械, 車床,機器,冶(yě)金,石油,礦山(shān),建築,化工,造船,飛船,軍工,紡(fǎng)織,海洋,娛樂,電子等和(hé)液壓有關的行業(yè)的流體和(hé)氣體傳輸(shū)係統

全國熱線

0519-82989061

詳細(xì)信(xìn)息

熱品推薦 / Hot product
2C-RN

2C-RN

Anti-Flame Cooling AFC

Anti-Flame Cooling AFC

用途:用於石油基類液壓油、水、空氣、乙二(èr)醇防凍(dòng)液的多用途管。它不(bú)導(dǎo)電,在1000伏直流電壓下,每英寸長度的小電阻大於1百萬歐姆。 內膠:黑色耐油的丁腈橡膠 外膠:黑色耐油的(de)氯丁橡膠 增強層:一層纖維編織(zhī)層 工作溫度:連續(xù)作業-40℃到135℃,間歇為+149℃(不(bú)超過運行時間的
GALVANATOR 3000 壓力清洗設備管

GALVANATOR 3000 壓力清洗設備管

技術參數內層:丁腈合成橡膠增強層:兩層鋼絲編織(zhī)外層:黑色或黃色的耐油Carbryn®合成橡(xiàng)膠,丁腈合成橡膠(ORS),RMA分(fèn)類級別抗油A等級(高耐油性)工作溫(wēn)度:-20°F到250°F(-29°C到121°C)
蓋茨同步帶3M(147-255) GATES HTD 207-3M

蓋茨同步帶3M(147-255) GATES HTD 207-3M

91视频导航_91短视频在线_91网站入口_91视频在线免费观看