歡迎來訪江蘇91视频导航管路係統股份有限公司 官方(fāng)網站!

PRODUCT CENTER 產品中心(xīn)

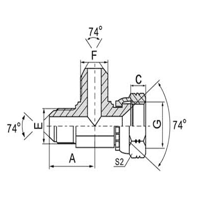
美製過渡接頭
CJ

用途:汽車,工(gōng)程機械, 車床,機器,冶金,石(shí)油,礦山,建築,化工,造船,飛船,軍(jun1)工,紡織,海洋,娛樂,電子等和液壓有關的行業的流體和氣體傳輸係統

全國熱線

0519-82989061

詳細信息

熱品推薦(jiàn) / Hot product
防靜電接地卷管器

防靜電接(jiē)地卷管器

CAMLOCK-DC

CAMLOCK-DC

產品優(yōu)勢:接頭強度高、性能穩定、連接速度快應用領域:汽車,工程機械, 車床,機器,冶金,石油,礦(kuàng)山,建(jiàn)築,化工,造船,飛(fēi)船,軍工,紡織,海洋,娛樂,電子等和液壓有關的行業的流體和氣體傳輸係統工業接頭凸輪鎖緊快速接頭(CAMLOCK)應用CAMLOCK接頭又叫扳把式快速接頭、凸輪鎖緊快(kuài)速接頭,主要應用於低壓場合,
收奶車專用軟管 COLLECTOR

收(shōu)奶車專用軟管(guǎn) COLLECTOR

描(miáo)述:白色,光滑,均勻NR內膠對氣味沒有任何影響工作壓力~6bar溫度範(fàn)圍:-40℃~+70℃(+90℃可以達20分鍾)加強層:合成纖維可以用+130℃蒸汽清洗(可以達20分鍾)超柔,重量輕NR外膠層耐磨,抗UV及臭氧內徑外徑工作壓力爆破壓力彎曲半(bàn)徑包裝重(chóng)量inmmmmbarbarmmm/ReelKg/m1-1/23849618 76401.21-9/164051618&n
卡特挖(wā)機配套液壓油管(guǎn)總成(chéng)

卡(kǎ)特(tè)挖機(jī)配套液壓油管總成

91视频导航_91短视频在线_91网站入口_91视频在线免费观看